Описание
Если Вы хотите заказать изделие из нержавеющей стали, замените первые две цифры артикула с 00.... на 01....
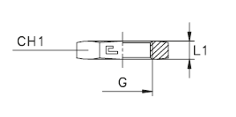
Характеристики
| Артикул | Бренд | CH1 | L1 (мм) | WP (bar) | Исполнение трубного соединения | резьба G | Резьба ТС 1 | серия | Стандарт ТС | Тип трубного соединения |
| 002305-CH32 | CAST | 32 | 9 | 315 | прямой | 3/4 | BSP | Универсальная | Соединения 60° BS-5200 | гайка |
Показать полностью
Свернуть
Характеристики
Размер CH1
32
Размер L1 (мм)
9
Серия
Универсальная
Размер резьбы 5
3/4
WP (bar) рабочее давление
315
Стандарт трубных соединений
Соединения 60° BS-5200
Бренд
CAST
Тип трубного соединения
гайка
Исполнение трубного соединения
прямой
Резьба ТС 1
BSP
Отзывы
Отзывов еще никто не оставлял
