Описание
Описание. Фитинг BSP с внутренней резьбой и обжатой гайкой используется для надёжного соединения гидравлических рукавов.
Изготовлен из прочной стали.
Гарантирует герметичность и устойчивость к высоким нагрузкам.
Подходит для работы с маслами и техническими жидкостями.
Примечание: Если вы хотите заказать фитинг для навивочных рукавов, замените последнюю цифру с 1... на 2...
Пример:
xxx11-xx-xx-PM - фитинг для оплеточных рукавов
xxx12-xx-xx-PM - фитинг для навивочных рукавов
Характеристики
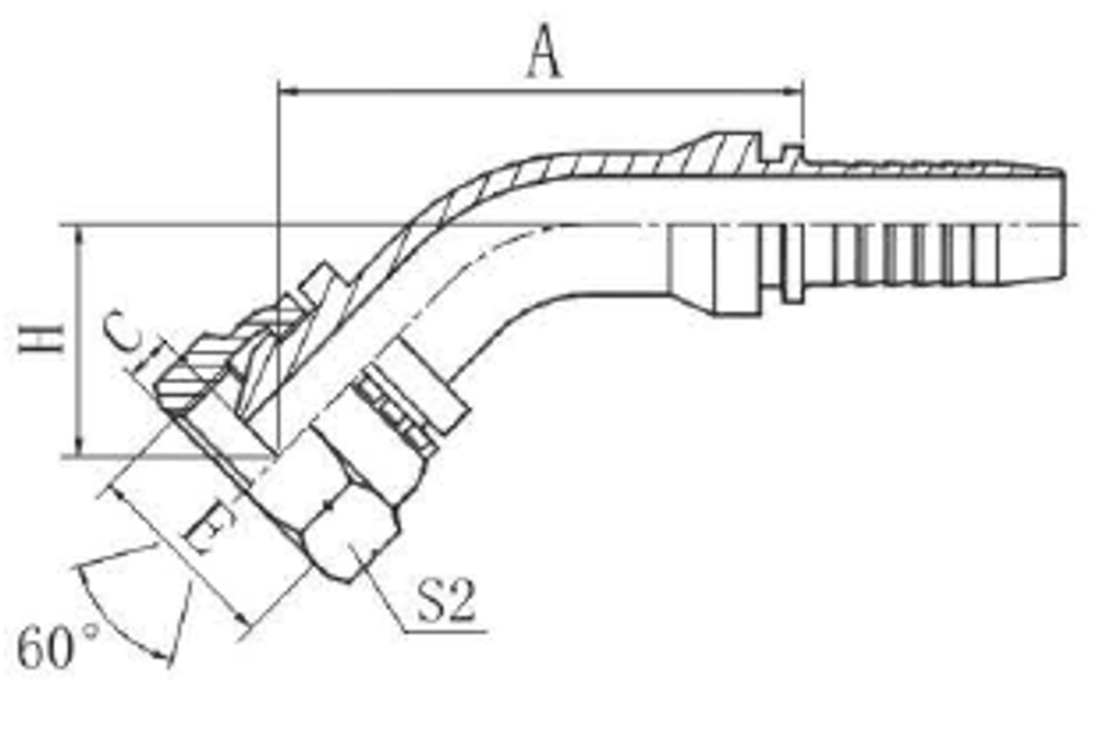
| Артикул | Бренд | A | C | DASH | DN | S2 | Вид резьбы | размер резьбы | Стандарт фитинга/муфты | Тип фитинга | Угол фитинга |
| 22641-16-16-TR | POWERMASTER | 88,4 | 11,7 | 16 | 25 | 41 | Внутренняя | G1"X11 | Стандартный | BSP | 45 град. |
Показать полностью
Свернуть
Характеристики
Размер резьбы
G1"X11
Размер C фитинги Powermaster
11,7
Размер А фитинги Powermaster
88,4
Размер S2 фитинги Powermaster
41
DASH размер продукции (рукава, фитинги, TC)
16
Тип фитинга для РВД
BSP
Бренд
POWERMASTER
DN (услов внут диам рукава, фитингов)
25
Стандарт фитинга/муфты для РВД
Стандартный
Угол фитинга для РВД
45 град.
Вид резьбы фитинга для РВД
Внутренняя
Отзывы
Отзывов еще никто не оставлял
